Nội dung bài viết
Nhu cầu sử dụng điện của con người ngày càng tăng dẫn đến tình trạng quá tải và nhiều vụ cháy nổ điện. Trên thực tế, con người đã phát minh ra một loại thiết bị có thể bảo vệ động cơ, mạch điện khỏi quá tải hoặc các thiết bị điện khỏi bị hư hỏng do dòng điện thay đổi đột ngột. Đó chính là Rơ Le Nhiệt. Vậy cấu tạo và nguyên lý hoạt động của thiết bị này như thế nào? Có những loại rơle nào? Hãy cùng Labvietchem tìm hiểu qua nội dung sau nhé!
Định nghĩa của rơle nhiệt là gì?
Rơle là thiết bị dùng để bảo vệ mạch điện và các thiết bị điện khỏi bị hư hỏng khi dòng điện quá tải hoặc tăng đột ngột. Rơle nhiệt còn có tên gọi khác là rơle.
Rơle nhiệt có chức năng đóng các tiếp điểm khi dòng điện tăng mạnh, sinh ra nhiệt tác động vào các thanh kim loại khiến chúng giãn nở. Nhờ có sự góp mặt của nó mà các thiết bị, máy móc điện sẽ hoạt động ổn định hơn và không bị hư hỏng khi quá tải. Vì vậy, rơle nhiệt được sử dụng trong hầu hết các hệ thống điện từ công nghiệp đến dân dụng.

Máy rơle nhiệt hay còn gọi là rơle
Hiện nay, rơle nhiệt được sử dụng ở các đường dây điện áp xoay chiều có công suất 500V, tần số 50Hz. Ngoài ra còn có loại LĐM mới lên tới 150A và 440V cho dòng điện một chiều.
Vì thời gian làm việc của rơle nhiệt chỉ kéo dài vài giây hoặc nhiều nhất chỉ vài phút nên không đảm bảo có thể sử dụng để bảo vệ ngắn mạch. Vì vậy người ta thường lắp thêm cầu chì cùng với rơle nhiệt để tạo nên hệ thống bảo vệ ngắn mạch tốt hơn, hiệu quả hơn.
Tham khảo ngay >> Các loại cân phân tích điện tử phòng thí nghiệm tại LabTrường Lê Hồng Phong | Trích dẫn rất hay
Ai đã phát minh ra rơle?
Rơle được phát minh lần đầu tiên vào năm 1835 bởi Joseph Henry – một nhà tiên phong về điện từ người Mỹ trong một cuộc trình diễn tại trường Cao đẳng New Jersey. Sau đó, Henry sử dụng một nam châm điện nhỏ để bật và tắt một nam châm lớn hơn và suy đoán rằng rơle có thể được sử dụng để điều khiển các máy điện ở khoảng cách rất xa.
Henry đã áp dụng ý tưởng này vào một phát minh khác của ông lúc bấy giờ là điện báo điện tử – tiền thân của điện thoại. Sau đó nó được phát triển thành công bởi William Cooke và Charles Wheatstone ở Anh và nổi tiếng hơn bởi Samuel FB Morse ở Mỹ.
Rơle sau đó được sử dụng trong chuyển mạch điện thoại và máy tính điện tử thời kỳ đầu và vẫn rất phổ biến cho đến khi bóng bán dẫn xuất hiện vào cuối những năm 1940.

Joseph Henry – Người phát minh ra Rơle
Cấu tạo của rơle nhiệt
Về cấu tạo, rơle nhiệt thường bao gồm các bộ phận sau:

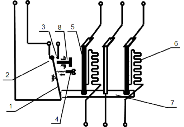
Hình ảnh mô tả cấu tạo của rơle nhiệt
1. Đòn bẩy
2. Tiếp điểm thường đóng
3. Tiếp điểm thường mở
4. Vít điều chỉnh dòng điện tác động
5. Thanh lưỡng kim
6. Dây sưởi
7. Đòn bẩy
8. Nút khôi phục
Có thể nói, rơle nhiệt có cấu tạo không quá phức tạp và cách sử dụng cũng rất đơn giản.
HI8410 Thiết bị đo và kiểm soát DO (oxy hòa tan) Hanna online
Nguyên lý hoạt động của rơle nhiệt

Nguyên lý hoạt động của rơle nhiệt
Đúng như tên gọi, rơle nhiệt có nguyên lý hoạt động dựa trên sự thay đổi nhiệt độ của dòng điện. Khi dòng điện quá tải sẽ sinh ra một lượng nhiệt lớn làm nóng tấm kim loại của rơle dẫn đến giãn nở. Tấm kim loại kép có vai trò cực kỳ quan trọng trong thành phần cấu tạo của rơle nhiệt, nó giúp thiết bị hoạt động hiệu quả. Tấm kim loại kép này được tạo thành từ hai thanh kim loại có chỉ số giãn nở khác nhau được ghép lại với nhau.
Thông thường, thanh kim loại đầu tiên sẽ là thanh có chỉ số giãn nở thấp hơn và thường được làm từ vật liệu invar (64% Fe + 36% Ni). Thanh kim loại thứ hai sẽ có hệ số giãn nở lớn hơn và thường được làm từ đồng thau hoặc thép niken-crom nên có hệ số giãn nở lớn hơn invar khoảng 20 lần.
Khi dòng điện đi vào thay đổi đột ngột, một lượng nhiệt lớn sinh ra và tác dụng lên thanh thép đôi khiến nó bị uốn cong theo hướng của thanh kim loại có hệ số giãn nở thấp hơn để cho dòng điện một chiều chạy qua hoặc dây điện trở xung quanh. Độ cong của thanh kim loại sẽ phụ thuộc vào chiều dài và độ dày của nó. Nếu muốn uốn cong lớn thì cần tấm kim loại dài và mỏng, còn nếu cần lực đẩy mạnh thì cần làm tấm kim loại rộng, ngắn và dày.
Chức năng của rơle
– Rơle giúp chuyển đổi nhiều dòng điện hoặc điện áp sang các tải khác nhau bằng một tín hiệu điều khiển.
– Giúp cách ly mạch điều khiển với mạch tải hoặc mạch cấp nguồn AC với mạch cấp nguồn DC.
– Giám sát tất cả các hệ thống an toàn công nghiệp và tắt nguồn điện của máy móc nếu đảm bảo an toàn.
– Sử dụng một số rơle để cung cấp các chức năng logic đơn giản như ‘VÀ’, ‘KHÔNG’ hoặc ‘HOẶC’ để điều khiển tuần tự hoặc khóa liên động an toàn.
Có bao nhiêu loại rơle nhiệt?
Trên thị trường có rất nhiều loại rơle nhiệt, tùy theo từng tiêu chí mà người ta chia các thiết bị này thành các nhóm khác nhau. Cụ thể:
– Dựa vào chỉ tiêu cấu tạo, rơle nhiệt được chia thành 2 loại: rơle hở và rơle đóng
– Tùy theo yêu cầu sử dụng sẽ có: rơle nhiệt một cực và rơle nhiệt hai cực
– Dựa vào phương pháp gia nhiệt, rơle nhiệt được chia làm 3 loại: rơle gia nhiệt trực tiếp, rơle gia nhiệt gián tiếp và rơle gia nhiệt hỗn hợp. Theo tiêu chí này, loại rơle hỗn hợp được sử dụng phổ biến nhất vì có độ ổn định nhiệt tương đối tốt, phù hợp với tình trạng quá tải nhiều lần giúp đảm bảo an toàn cho thiết bị và người sử dụng.
– Ngoài ra còn có các loại rơle nhiệt khác: rơle nhiệt 3 pha, rơle nhiệt 1 pha,…

Các loại rơle nhiệt thường dùng năm 2022
Một số loại rơle nhiệt được sử dụng phổ biến hiện nay:
– Rơle nhiệt 1 pha: Dùng cho dòng điện 220V. Hiện nay hầu hết các thiết bị điện gia dụng đều sử dụng loại rơle nhiệt một pha này. Nó giúp ngăn ngừa nguy cơ quá tải dòng điện hoặc cháy động cơ.
– Rơ le nhiệt 3 pha: dùng với các thiết bị điện 3 pha có công suất hoạt động lớn từ 3KW đến 5KW (thiết bị điện trong công nghiệp). Rơle nhiệt có nhiệm vụ tách nguồn điện ra khỏi động cơ của các thiết bị điện khi xảy ra sự cố ngoài ý muốn, giúp tránh những hư hỏng không mong muốn.
– Rơle nhiệt nồi cơm điện: Loại rơle này được thiết kế dạng hình tròn nhỏ, mặt dưới được thiết kế có lò xo và được gắn vào giữa tấm gia nhiệt của nồi cơm điện. Rơle trong nồi cơm điện có tác dụng ngắt dòng điện khi phát hiện dấu hiệu dòng điện quá tải. Khi cơm chín (nhiệt độ đạt tới giới hạn tối đa), rơle nhiệt sẽ tự động tắt để đảm bảo an toàn về điện.

Rơle nhiệt nồi cơm điện
– Rơle nhiệt sắt: Loại rơle này có nguyên lý hoạt động là khi nhiệt độ tăng cao, tấm kim loại kép sẽ bị uốn cong khiến mạch điện bị gián đoạn. Khi nhiệt độ giảm xuống, tấm kim loại kép sẽ duỗi thẳng và nối lại mạch điện, bàn ủi sẽ nóng trở lại.
– Rơle nhiệt máy bơm nước: Loại rơle này bảo vệ máy bơm khi có hiện tượng quá tải trong quá trình vận hành. Máy bơm hoạt động liên tục. Nếu không có nước máy, nó sẽ nóng lên khiến Rơ le nhiệt bắt đầu giãn nở và tắt nguồn. Điều này giúp tránh cho máy bị cháy.
Cách chọn rơle nhiệt
Khi lựa chọn rơle nhiệt người dùng cần chú ý những lưu ý sau:
– Lựa chọn dòng rơle nhiệt phù hợp với nhu cầu của mình.
– Chọn rơle nhiệt phù hợp với contacror, thông số này được nhà sản xuất ghi ngay trên catalog sản phẩm.
– Bạn nên chọn những rơle có dải điều chỉnh dòng điện lớn hơn một chút so với nhu cầu của mình để có thể điều chỉnh được trong quá trình hoạt động có tải thực tế.
Trên đây là thông tin về rơle nhiệtmột thiết bị có vai trò vô cùng quan trọng trong việc bảo vệ các máy móc, thiết bị điện hiện nay. Hãy tiếp tục cập nhật thêm nhiều thông tin hữu ích với chúng tôi trong các bài viết tiếp theo tại website labvietchem.com.vn.
XEM THÊM:
>>> Bộ điều khiển ORP mini có đầu ra 4-20mA BL932700 Hanna
Các tìm kiếm liên quan:
– Rơ le nhiệt nồi cơm điện
– Cách điều chỉnh rơle nhiệt
– Rơle nhiệt độ
– Rơ le nhiệt ls

Nội dung được phát triển bởi đội ngũ truongchuvananhue.edu.vn với mục đích chia sẻ và tăng trải nghiệm khách hàng. Mọi ý kiến đóng góp xin vui lòng liên hệ tổng đài chăm sóc: 1900 0000 hoặc email: hotro@truongchuvananhue.edu.vn